Motor Management Relay Helps Enhance Variable Frequency Drive Operations
By Alan Saldivar
The biggest challenge for continuous process industries is operating without any unscheduled interruptions. Any process in the oil, gas, petrochemical, water, wastewater, metals, or mining markets that involves heavy use of rotary machinery needs to have reliable monitoring, protection and control devices. Even though most VFD manufacturers offer unique features such as component bypass, component redundancy, cooling capability, communications, and diagnostics, they cannot guarantee that their VFDs will not fail. From a reliability and risk standpoint, the need for a redundant device is evident.
A VFD bypass is commonly used to ensure that the fans, pumps, compressors, and other equipment are kept running in an industrial plant even if the VFD is taken out of the control loop. Both electronic and conventional bypasses are commonly used to take the VFD out of the control loop. This is concerning because the motor is only controlled by a VFD bypass contactor when there is no intelligent electronic device (IED) providing protection, monitoring or control. This automatically excludes the possibility of having any type of motor start report or waveform capture for motor data analysis during normal or abnormal operation.
Even though the VFD bypass fulfills the purpose of keeping the process running, an IED is needed to properly ensure the reliability and safety of the industrial process. Another evident challenge is the fact that VFDs are typically installed in MCCs. MCCs have a significant arc-flash hazard potential due to the large available fault current.
SEL Solution
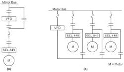
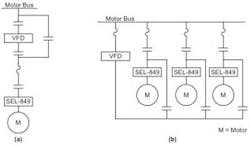
The SEL-849 provides complete motor protection for a low-voltage motor. It can be applied to enhance VFD protection when the motor is running with the VFD or when the VFD is bypassed. Figure 2a shows a typical VFD bypass diagram where the SEL-849 is enhancing VFD protection and control, as well as acting as a redundant protective device.
This SEL solution addresses the following three major applications of VFD bypass:
- Isolation of the VFD for maintenance while allowing the motor to operate directly across the line (scheduled interruption)
- Sharing one VFD among several motors for soft starting, as shown in Figure 2b. Once a motor is at full speed, it is switched to operate across the line (normal or common operation).
- Unexpected VFD failure (unscheduled interruption)
Even though the SEL-849 is able to support both VFD and VFD bypass operations, the following points need to be considered when VFD bypass mode is applied:
- The motor must be suitable for both VFD and across-the-line operation. Some inverter-duty motors are not approved for across-the-line operation.
- The motor and loads must be capable of continuous, full-speed operation.
- Any reversing arrangements must be considered.
Figure 3 shows what a typical connection looks like for a VFD bypass configuration. It shows the connection diagram for factory default I/O assignments for the SEL-849 VFD motor application. This configuration allows the SEL-849 to go into bypass mode in case of an unexpected VFD malfunction, scheduled maintenance or a soft start configuration. (Note that this is only one example of how the relay can be configured for VFD applications; some other configurations may be applied as well.)
When the SEL-849 is using the VFD application setting, the relay uses root-mean-square (RMS) current magnitudes instead of fundamental magnitudes for current-based protection elements. Once the system goes into VFD bypass mode, the relay automatically switches from RMS to fundamental magnitudes of the currents for current-based protection elements.
During normal operation or bypass mode, the large available fault current in MCCs presents a potential arc-flash hazard. The safety of VFD-operated motors can be improved using the arc-flash protection element in the SEL-849. This element provides trip security during an arc-flash event by tripping only during a light and overcurrent condition. Figure 4 shows a typical configuration for arc-flash protection using the SEL-849. Refer to the SEL Application Note AN2013-09, available at www.selinc.com, for more details on arc-flash protection for MCCs.
Two other crucial SEL-849 features that enhance VFD protection are waveform capture and motor start reports (see Figs. 5 and 6). These features provide in-depth analysis of the motor behavior to identify any abnormal conditions.
About the Author: Alan Saldivar received his B.S. degree in electrical and electronics engineering from California State University, Sacramento in 2011. He joined Schweitzer Engineering Laboratories, Inc. (SEL) in 2012. He currently works as an associate industrial solutions engineer for the oil and gas market in the industrial business development department, where he markets, supports, trains, and develops solutions for the industry. He also supports the rotary machinery research and development team with technical training and product-related testing.
Schweitzer Engineering Laboratories is an exhibitor at the WEFTEC.13 event and can be found at Booth No. 5043.






